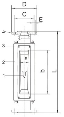
型?? 号(hao)
|
公稱通(tōng)徑
DN(mm)
|
測 量(liàng) 範 圍
|
精(jīng)度(%)
|
工作(zuò)溫度
(℃)
|
工(gong)作壓力(lì)
(MPa)
|
|
水20℃
(L/h)
|
空氣(qi)
101325Pa20℃(m3/h)
|
|
LZB-GA24-15
LZB-GA24-15F
|
15
|
4~40 6.3~63 10~100
12~120 16~160 20~200
25~250 30~300 36~360
40~400 46~460 63~630
65~650 75~750
|
0.12~1.2 0.2~2
0.3~3 0.4~4
0.5~5 0.6~6
0.8~8 0.9~9
1.2~12 2~20
|
1.5
2.5
|
-20~+60
或者
-20~+120
(特(tè)殊訂制(zhi))
|
<1.0
|
|
LZB-GA24-25
LZB-GA24-25F
|
25
|
40~400 50`500 63~630
80~800 100~1000
120~1200 160~1600
200~2000 250~2500
300~3000
|
1.6~16 2~20
2.5~25 3~30
4~40 5~50
6~60
|
|
LZB-GA24-40
LZB-GA24-40F
|
40
|
160~1600 200~2000
250~2500 300~3000
400~4000 ?500~5000
|
5~50 6~60
8~80 9~90
12~120
|
<0.9
|
|
LZB-GA24-50
LZB-GA24-50F
|
50
|
250~2500 300~3000
400~4000 500~5000
630~6300 800~8000
1000~10000 1500~15000
4000~16000
|
10~100 12~120
16~160 20~200
30~300
|
<0.7
|